Nantennas and geometric diodes making solar more efficient

Nantennas and geometric diodes making solar more efficient

Nantennas and geometric diodes making solar more efficientLast week, nantenna technology, which collects solar radiation via nano-scale antennas and converts it into electricity, moved a big step forward when it was coupled with another technology called geometric diodes. The use of these nano-sized diodes are capable of rectifying—converting AC current to DC current—the electricity produced by the nantennas and reducing the oscillation to a level usable in household electronics.

When nantennas were first developed at the Idaho National Laboratory, they were capable of collecting 80 percent of the sun’s light, but there was no way to slow the oscillation of electricity generated by the nantennas, which cycled at trillions of times a second, down to a useable level: 60 oscillations or hertz per second—the speed that household appliances are built for.

There had been some previous successes using metal-insulator-metal diodes (MIM diodes), but only for a small range of solar radiation. They could only rectify infrared light, which oscillates at 30 terahertz (THz).

“The hard range of operation is ultra-high frequencies,” said Garret Moddel, a professor at the University of Colorado’s Department of Electrical, Computer and Energy Engineering.

To collect energy at the high-frequency range with the nantennas, Moddel, University of Missouri Chemical Engineering Department Associate Professor Patrick Pinhero, who developed the nantennas, and researchers at the Idaho National Laboratory looked to a new technology, geometric diodes.

Geometric diodes have the potential to rectify the higher-frequency oscillations of the visible spectrum, which reach oscillations over 100 THz.

And with geometric diodes, smaller is better.

“The advantage of a small size has to do with how geometric diodes work,” Moddel said. “The average distance that the electrons move between collisions is called the mean-free path length. For the electrons to experience geometric asymmetry, the neck of the diode must be smaller than the mean-free path length.

“If the neck size is larger than that, the electrons don't notice that they are in a geometrically asymmetric environment, and as a result the current as a function of applied voltage ends up being symmetric, i.e., it does not rectify,” he said.

The geometric diodes can also convert a wider range of the solar spectrum into usable energy, according to Moddel.

“Generally, if we can get the devices to operate at high frequency, they will also operate at low frequencies, too. There is one exception to that case, when a device is specifically tuned to a particularly frequency, but that is usually not how they are set up,” he said.

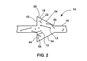
Pictured: An excerpt from Moddel's patent application, showing how a geometric diode's asymmetry rectifies electrons.
 

 

Form goes here